Patent describes platform that decides which name to resolve.

The U.S. Patent and Trademark Office has granted patent number 12,401,618 (pdf) to Freename AG for “Internet infrastructure system and method.”
Freename is primarily a platform for blockchain-based names, but it has recently expanded into the traditional DNS space as well.
Its patent aims to address a significant issue in web3 namespaces: name collisions.
Anyone can create a blockchain-based top level domain, and these often duplicate each other. Additionally, with another round of top level domain expansion underway at ICANN, future real namespaces might collide with existing blockchain namespaces.
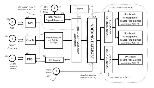
Freename’s invention creates a resolution layer that decides which name should be resolved when someone types it into a browser or other system.
The resolution layer can review many factors, such as the registration date of the name or the size of the blockchain naming system, to score each name and decide which one to resolve to.
The platform can also consider domain abuse signals.
Freename’s platform can be utilized by browsers, wallets, ISPs, VPNs, and other entities to facilitate resolution.
The company filed its patent application in February 2024, and it was granted in August this year.
Source: https://domainnamewire.com/
